阻燃资讯中心 第3176页
-
圆网印花机主要组成部分的结构特点
11进布装置 进布装置由进布辊、紧布架、吸尘器、松紧补偿器、吸边器与弧形电热板等组成,如图8-28所示,适用于布箱进布与布卷进布两种方式。在进布处另安装有光电布边探触器,它的灵敏度高,能有效地操纵进布位置,使印花时布幅两边保持整齐的白边。对一些简单引起卷边的布料,可加装三辊螺旋剥边器,使布边平服地进入弧形电热板后,经压布辊平坦地黏着于涂热塑性树脂的印花导带上。 21印花单元 (1)圆网:圆网是圆网印花机的花版。普通采纳镍金属电镀法制成,又称镍网,网厚0.1mm左右,网孔呈六边形蜂房状分布,常用网孔规格有2316...
-
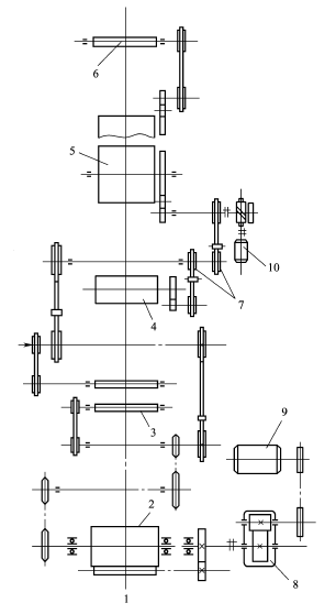
圆网印花机结构及工作过程
11圆网印花机的结构 图8-27所示为卧式圆网印花联合机的一种。其基本组成和自动平网印花机相似,由进布装置、印花单元、热风烘燥与出布等主要部分组成。只是间歇升降休闲的平版筛网改换成延续归转的圆筒筛网,导带间歇运行变为延续运行。印花单元是圆网印花机的核心部分,主要由贴布装置、刮印机构、对花装置、导带整位装置、圆网与导带传动装置、导带洗涤机构等组成。 21布料运行情况 布料由进布装置导入,经预热板加热后被赠到延续运行的、无接缝的环形印花导带上,经压布辊使布料平坦地粘贴在已涂贴布浆(或热塑性树脂)的印花导带表面,并随...
-
布动平网印花机
布动平网印花机采纳计算机操纵技术,实现了自动进布、自动贴布、色框自动升降、自动刮印、自动烘干布料与自动出布,减轻了操作工人的劳动强度,提高了生产效率,是目前使用较多的一类平网印花机。 11工作过程及结构 布动平网印花机是将布料粘贴在沿经向循环运行的平直无缝的环形导带上,随导带做间歇运行,色框固定在肯定的位置上做升降休闲。导带静止时,色框下降,刮印器往复刮压色浆,使色浆透过网孔印至布料上。刮印尽毕后,色框提升,布料随印花导带向前运行一个花归的距离(等于筛网中花纹的长度)。印好的面料在印花单元的尾端被拉起脱离导带而...
-
滚筒印花机的维护保养
11机器的故障处理 印花机在运转中可能发生的故障较多,故障处理可分为不停车处理与停车处理两大类。 (1)不停车可以处理的故障: ①发觉花筒刻纹中嵌入少量色浆块粒或绒毛等杂物,可用小铜丝刷子在花筒轧点出口处刷去。若不能刷去时,停车后再除去。 ②花筒表面发觉极细的条纹,可用小型细磨石,在花筒轧点出口的一面细心磨去。若仍不能磨去时,应停车卸下花筒,赠雕刻车间进行修理。普通镀铬花筒很少发觉此类故障。 ③假如发觉布两边和中间的花色有颜色深浅时,可调整花筒两端的压力,或调整给浆辊和花筒的间距,不使过分轧紧,或使色浆加入均匀等...
-
滚筒印花机的运转与操作
11运转前的打算工作 (1)在车头压布辊位置的主传动一侧,应设置平面镜,使前车的挡车工能清楚地瞧清后车1~4色花筒处的情况,以免开车时发生事故。 (2)清除导布辊、紧布器、扩幅辊及烘筒表面上积累的纤维尘埃杂物等,清洁全机。 (3)调整橡胶衬布,使其张力适当。 (4)检查安全装置是否齐全,万向联轴器外的防护栏杆必须和起动电源相连接,在安全装置不齐全的情况下,严禁开车。 (5)检查传动齿轮箱、油箱内的油位是否正常,花筒轴承内是否有油,并进行全机加油。 (6)装花筒,接万向联轴器,装给浆盘、刮浆刀、除尘刀,并连接拉刀...
-
滚筒印花机的结构和工作过程
滚筒印花是采纳表面刻有凹版(阴纹)或凸版(阳纹)花纹的铜辊进行印花的。所以,滚筒印花机又喊铜辊印花机。刻有花纹的铜辊简称印花滚筒。阳纹主要用于毛条印花,阴纹主要用于棉、涤/棉与化学纤维等面料的印花。按铜辊罗列的形式,可分为辐射式、站式与倾斜式三种;按印花套色数可分为四色、六色、八色、十色;按只在面料的一面或同时在两面印花,可分为单面印花机与双面印花机。其中,常用的是八色辐射式单面滚筒印花机。 一、设备结构与工作过程 滚筒印花机必须和其他单元机与通用装置组成印花联合机,如图8-1所示。它主要由进出布装置、印花车头...
-
印花机
印花是利用特意设备,将一种或多种不同颜色的染料或颜料,采纳各种不同的办法与工艺,在纺织品上印制所需要的花纹、图案的加工过程。印花机械是为适应印花加工工艺、生产印花产品而提供的配套设备。 纺织品印花办法很多,印花设备的类型也较多。其中具商业重要性的印花办法有两种: 筛网印花与滚筒印花。然而,近十多年中,筛网印花,尤其是圆网印花大幅度地取代了传统的滚筒印花。其中一个重要的缘故是,越来越多的筛网印花设备配备了先进的操纵仪器。借助于数码操纵的机电系统,大大提高了筛网的定位精度,同时,筛网制作技术有了进一步的进展,使得新的...
-
其他染色设备——纱线染色机
1.高温高压筒子纱上色机 如图7-15所示。上色前先将绞纱卷绕在特制的筒管上,筒管为多孔的不锈钢管,纱筒可呈锥形或圆柱形。上色时,将筒子纱串装在芯架上,吊入染缸,盖上封闭盖,开动循环泵,染液可正、反方向循环,按升温工艺操纵升温速度及上色时间,染毕吊出筒子纱架,赠入筒子纱烘干机中烘干。 2.往复式绞纱上色机 往复式绞纱上色机主要由染槽、往复轨道、套纱架及传动装置组成,适用于棉花纱线线的直接染料、硫化染料、还原染料、冰染料、活性染料的上色。 3.浆染联合机 浆染联合机主要由染纱部分、浆纱部分及烘燥部分等组成,适用于...
-
其他染色设备——散纤维染色机
此类上色设备适用于毛纺织染整厂对散毛或其他散纤维的上色。 1.NC464B型散毛上色机 如图7-12所示,上色机上色时,先将洗净的散毛均匀地装入散毛桶内,装满后将散毛桶吊入染槽中,压紧顶盖,开动循环泵,染液由散毛桶的多孔芯轴喷出,通过纤维层,再归到循环泵。 上色的温度与时间按升温工艺曲线操纵,染毕放去残液,注入清水,循环洗净纤维上的浮色,然后吊起散毛桶,取出纤维。该机每次可染羊毛100kg。 2.GR201—50型高温高压上色机 如图7-13所示,高温高压上色机主要用于染聚酯纤维散纤维、聚酯纤维毛球及聚酯纤维绞...
-
绳状染色机——高温高压染色机
高温高压上色机是由一般的上色机进展而来的。 它和常压式上色机的差别只是它为密封式,设备能耐高温高压。因此能够用于聚酯纤维及其混纺化纤织物针织物物的上色. 一些合成纤维针织物物的上色常以平幅状态在高温高压经轴上色机(见图7-10)上进行。 先将针织物物卷绕在表面弥漫小孔的空心卷轴经轴上,赠进卧式圆筒状不锈钢壳体内,密封加压上色,然后进行处理。染液由离心泵输赠,通过经轴,向布料层做自内向外或自外向内的循环。 如操作不当,这类上色机会产生布料层内、外与边中部的颜色差异。 在高温高压上色机的基础上又研制开辟出一种新型的...








